加盟创业评测网通告:请注意分辨评论内容、评论者IP及地址,以免被抢手迷惑
选择品牌加盟请先看别人对该公司的评测,谨防上当。如果没有您关注的品牌,请点这里
评论详情

北京天付宏图科技有限公司口碑

时光点评了天付科技:天付科技的“固码小店”产品收款很稳定~
产品
技术
服务
盈利
网友评价:

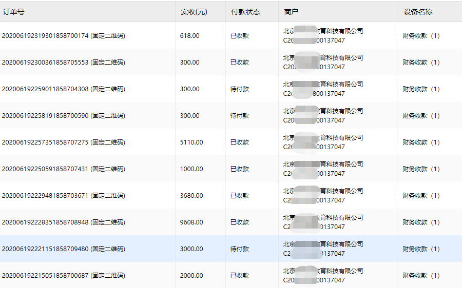
他们家的“固码小店”产品不错,设计的很人性化,我们公司是教育行业,经常线上收款,之前的产品老是报风险,他们家的相对稳定多啦~!收款稳定,后台数据实时查询非常完美,多余的话也不多说了看后台截图吧。

  • 评论人: 时光
  • 时间:2020-06-21 09:57:44
  • 地区:北京市北京
天付科技官网品牌信息
版权所有 © 2019-2026 77ii.net 加盟创业评测网 保留所有权利
声明:评论内容只代表网友观点,与本站立场无关!带有钻石标志的品牌为本站推荐。
品牌研究实验室主办 京ICP备11015305号